vw transmission parts diagram

VW Type 2 Bay Transmission. Clutch Hydraulic Hose Replacement.


Jeep Wrangler Yj Synchronizer Blocking Ring Set

Volkswagen an international auto market chief is a renowned brand that continues to highlight their quality driven vehicles offering modern.

. In our online VW Beetle gearbox store you will also find a huge number of classic Beetle gearbox parts both stock and performance including cases. Transmission Oil Strainer Four Speed Automatic transmission. Beetle gearbox parts and clutches.

Technical issues and repair guidelines. Shop Our Full Catalog Of Genuine OEM Volkswagen Parts And Accessories And Save Today. Tie Rod Ends 1.

Volkswagen Manual Transmission Parts. Shop Comfort and Protection. Make yourself comfortable and keep your Volkswagen protected from the rigors of daily use with Genuine Volkswagen Comfort and Protection Products.

Clutch Safety Switch Replacement. Transmission Synchro Rings 4. Ad M T MFG.

Transmission Oil Cooler Replacement. One of the peculiarities of the 01M transmission lies in the transversal positioning of the unit. Shop VW Transmission and Driveline Parts for your Volkswagen Jetta online with Volkswagen of America.

Shifter Repair Kit Straight 1968-79 Beetle Super Beetle Ghia THING 113-798-121 contains the Shift Lever Shift Knob Boot Base Spring and Shift Plate. Clutch Slave Cylinder Replacement. Automatic Transmission Oil Pan Gasket.

Therefore VAG engineers also had to add a differential with. Your transmission code when ordering your rebuilt transmission If Youre looking for parts. Transmission Hubs.

Use these diagrams as an aid only. Ad Buy Audi VW Parts Is A Certified And Authorized Volkswagen Parts Dealer. 1992 - 1996 5 cyl Engine Code ACU 1997 - 2000.

Trust our nationwide network of local VW Dealerships to help you do your part in. Use the VW Transmission charts below to help you find your Transmission Code. Shop Volkswagen Parts Accessories and VW DriverGear Online.

I suggest you confirm all part numbers with your local authorized VW parts department. Heritage Parts Centre stock a large range of 1968-79 VW bus gearbox transmission parts from the smallest component up to complete Volkswagen. Ad Shop online and save on the best Accessories for your VW.

Many of these 45yo. Vw Transmission Parts Diagram 312 Book procedures and specifications for 25hp and 36hp motors Solex 28 PCI carburetor and Solex fuel pump troubleshooting. Genuine Volkswagen Parts fit and perform like factory originalso you can be confident that your purchase is the right option.

Selling Classic Volkswagen Parts Since 1975 Shop Our Wide Selection. Trust OEM VW Accessories.


09g Vw Transmission Cataloge


Whatever It Takes Transmission Parts


Vw Vento Eu Europe 1992 Gearbox 30135 Catcar Info


409 010 T5 1 9tdi Differential Flanged Shaft 5 Speed Manual Transm Vws Car Parts


Volkswagen Tiguan Service And Repair Manual Transmission Transporting Controls Housing


Your Source For All Your Aircooled Vintage Vw Parts Vw Engine Volkswagen Cc Vintage Vw


Rebuilt Vw Transmissions For Air Cooled Vws


Transmission Parts Classic Vw Parts For Beetle Bus Ghia Thing Type 3


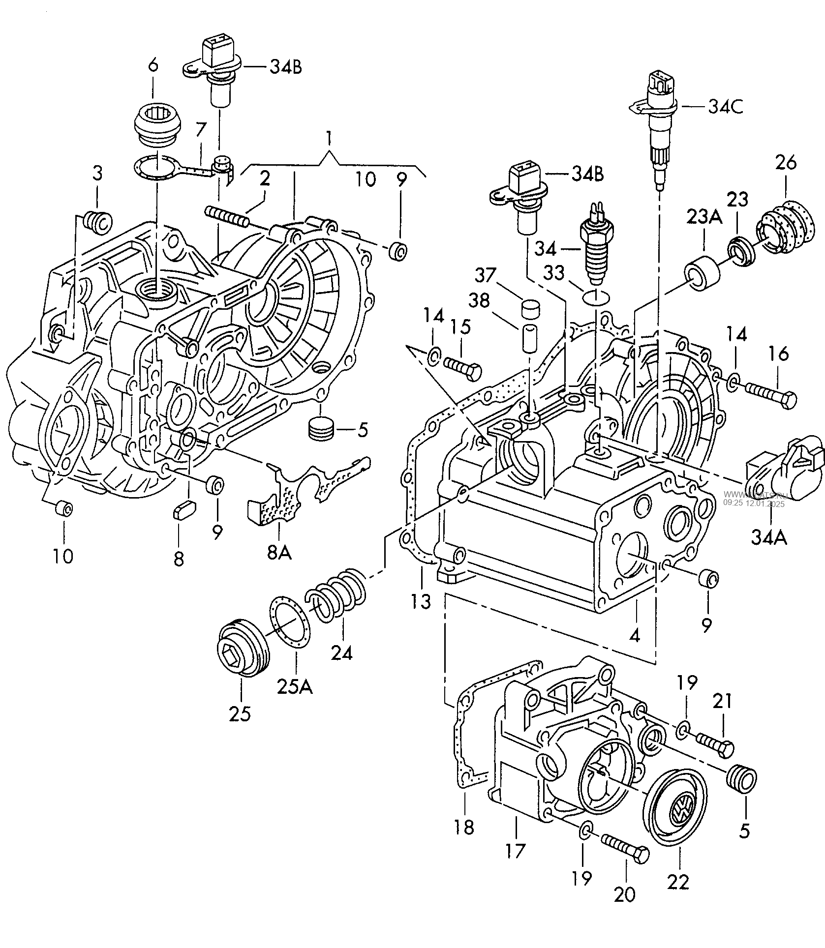
Transmission Securing Parts 5 Speed Manual Transmission Vw Transporter


01p Transmission Parts Repair Guidelines Problems Manuals


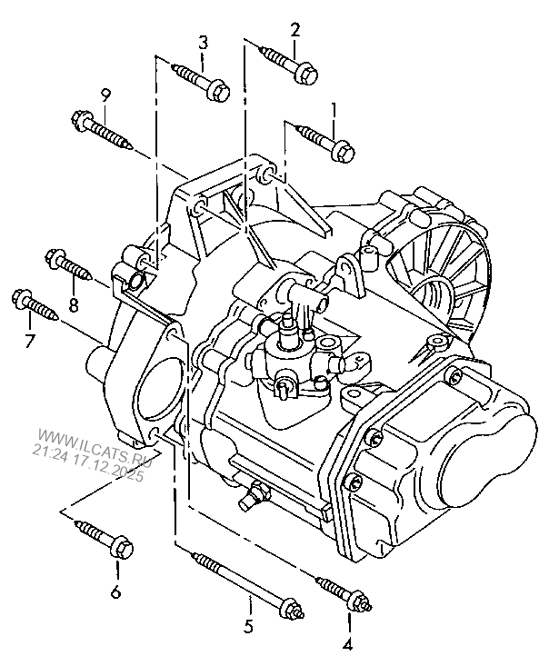
Gear Housing For 5 Speed Manual Transmiss Vw


1999 Eurovan Manual Transmission Swap New Vendors Part Sources Available Vw Vortex Volkswagen Forum


Volkswagen Tiguan Service And Repair Manual Transmission Disassembling And Assembling Controls Housing


W4idhcjm6jul2m


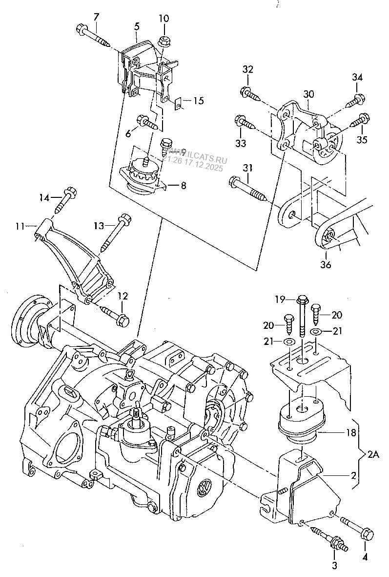
Volkswagen Polo 2008 2010 Mounting Parts For Engine And Transmission 5 Speed Manual Transmission Vag Etka Online Nemiga Com


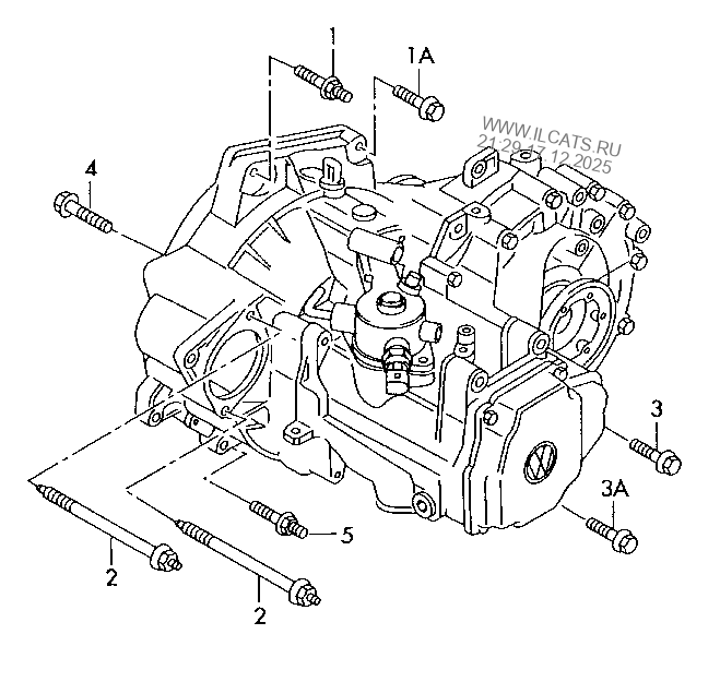
010 Transmission Parts Repair Guidelines Problems Manuals


Transmissions Classic Vw Parts For Beetle Bus Ghia Thing Type 3

Iklan Atas Artikel

Iklan Tengah Artikel 1

Iklan Tengah Artikel 2

Iklan Bawah Artikel